Description
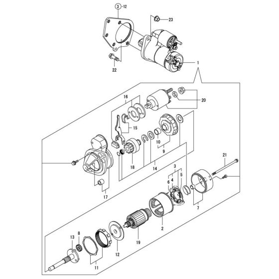
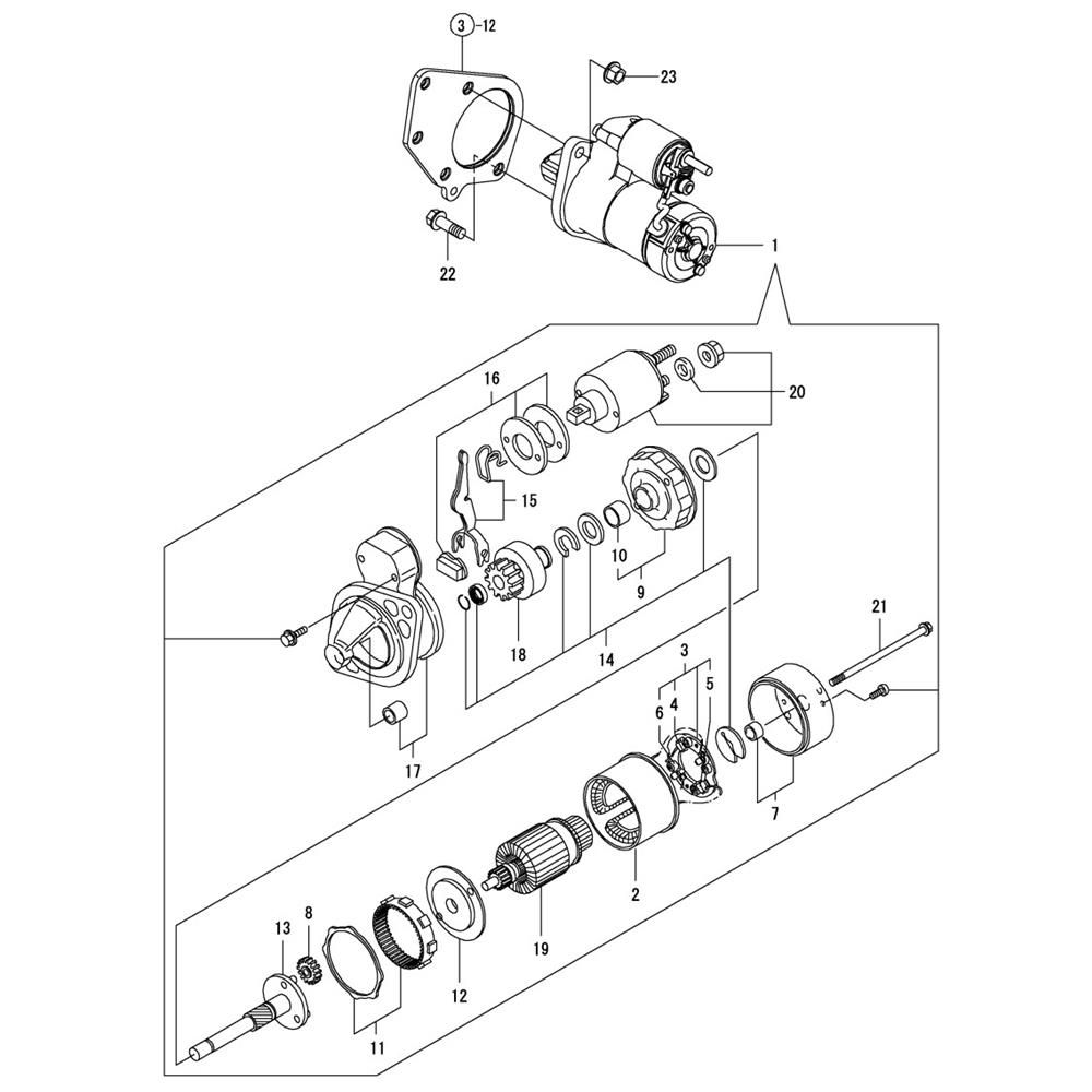
The Starting Motor Assembly for the Yanmar 2TNV66-DMIN Engine is crucial for initiating engine operation. This assembly includes components such as the starter motor, solenoid, and mounting hardware, ensuring reliable engine starts. Designed for durability and compatibility with Yanmar engines, it supports efficient engine performance and longevity.
Reviews
Add a review
Write Your Own Review
Ask a Question
Customer Questions

