Description
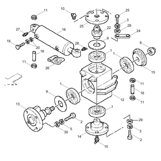
The Steering Articulation Assembly for the Wacker RD10 Roller is crucial for maintaining precise control and manoeuvrability. This assembly includes components such as joints, bearings, and linkages that ensure smooth steering operations. Designed for the Wacker Neuson Tandem Roller, it helps in reducing wear and tear, enhancing the machine's lifespan.
Reviews
Add a review
Write Your Own Review
Ask a Question
Customer Questions

