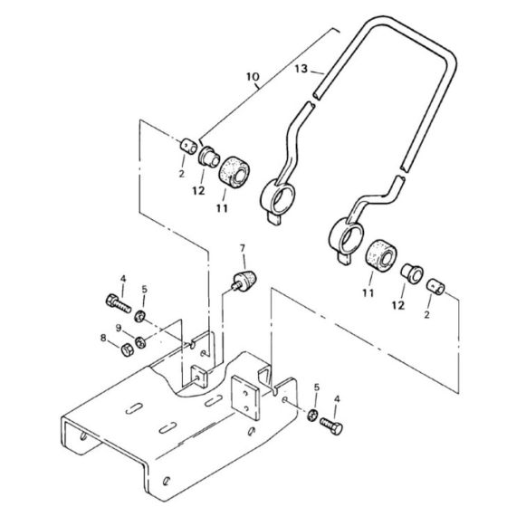
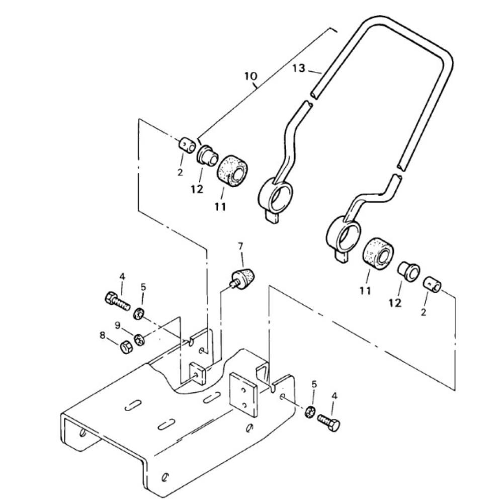
Description
The Steering Handle Assembly for Bomag BP 10/36 Compactors is a genuine Bomag spare part designed to ensure precise control and manoeuvrability. This assembly includes key components such as grips, brackets, and fasteners, essential for maintaining the integrity and performance of the compactor. Ideal for routine maintenance and repairs, it helps ensure safe and efficient operation.
Reviews
Add a review
Write Your Own Review
Ask a Question
Customer Questions

