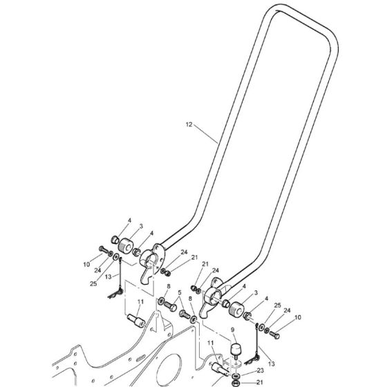
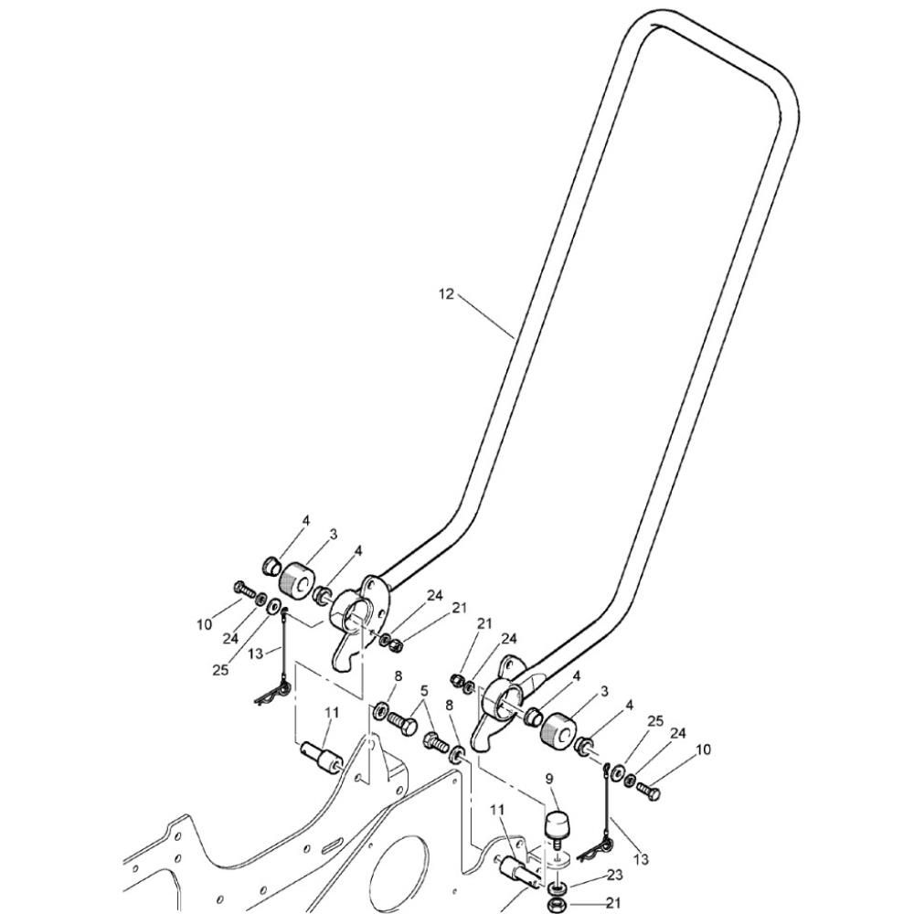
Description
The Steering Handle Assembly for Bomag BP 15/45-2 Compactors is a genuine Bomag spare part designed to ensure precise control and manoeuvrability. This assembly includes components such as grips, levers, and brackets, essential for maintaining the functionality and safety of your compactor. Ideal for routine maintenance and repair, it helps in achieving optimal performance.
Reviews
Add a review
Write Your Own Review
Ask a Question
Customer Questions

