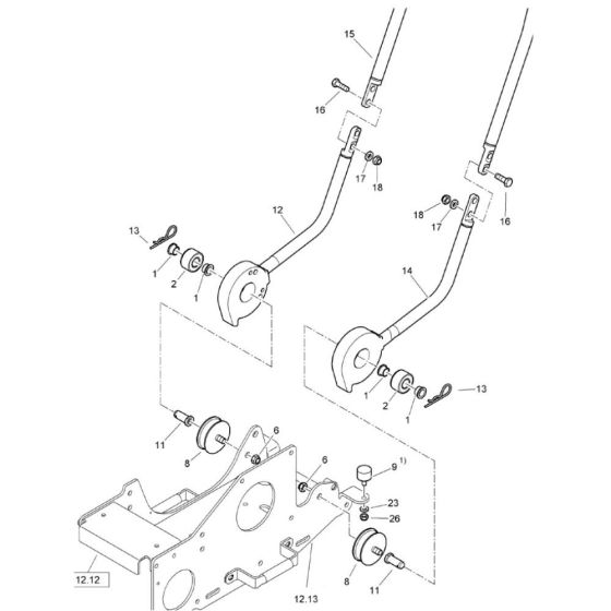
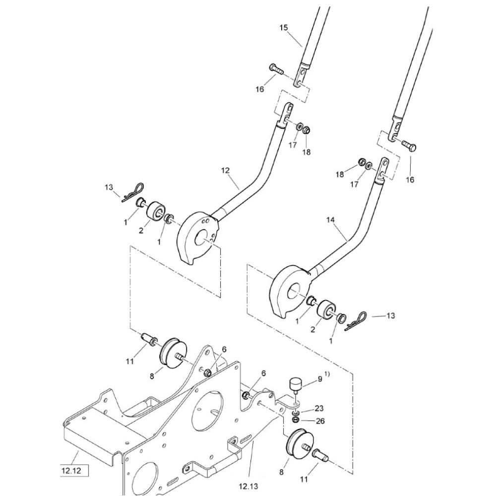
Description
The Steering Handle Assembly for the Bomag BVP10/36 Forward Compactor is a crucial component for precise control and manoeuvrability. This genuine Bomag part ensures optimal performance and durability. The assembly typically includes handles, grips, and mounting brackets, designed to withstand the rigours of regular use. Essential for maintaining the compactor's efficiency and ease of operation.
Reviews
Add a review
Write Your Own Review
Ask a Question
Customer Questions

