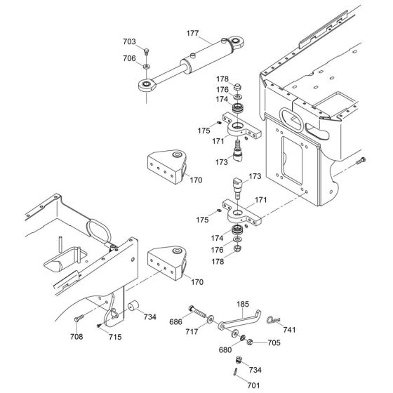
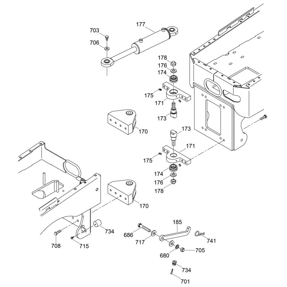
Description
The Steering Joint Assembly for the Wacker RT56-SC Trench Roller is crucial for maintaining precise control and manoeuvrability. This assembly includes components such as joints, bearings, and seals, ensuring smooth operation and durability. Designed for the Wacker Neuson Trench Roller, it supports reliable performance in demanding construction environments.
Reviews
Add a review
Write Your Own Review
Ask a Question
Customer Questions

