Description
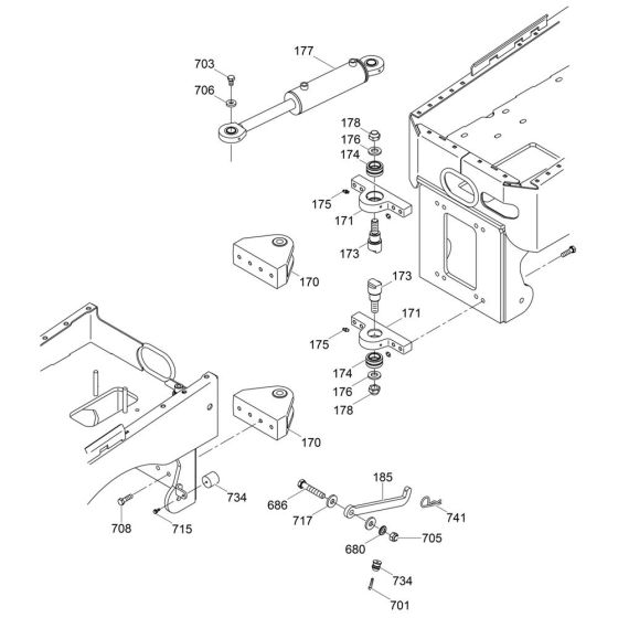
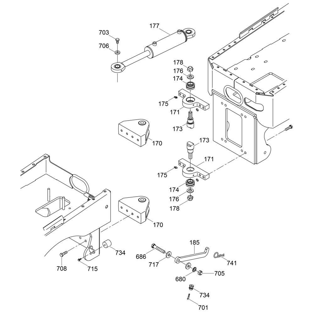
The Steering Joint Assembly for the Wacker RT82-SC Trench Roller is crucial for maintaining precise control and manoeuvrability. This assembly includes components such as joints, bearings, and seals, ensuring smooth operation and longevity. Designed to withstand the demands of trench rolling, it helps in maintaining alignment and reducing wear on the roller's steering mechanism.
Reviews
Add a review
Write Your Own Review
Ask a Question
Customer Questions

