Description
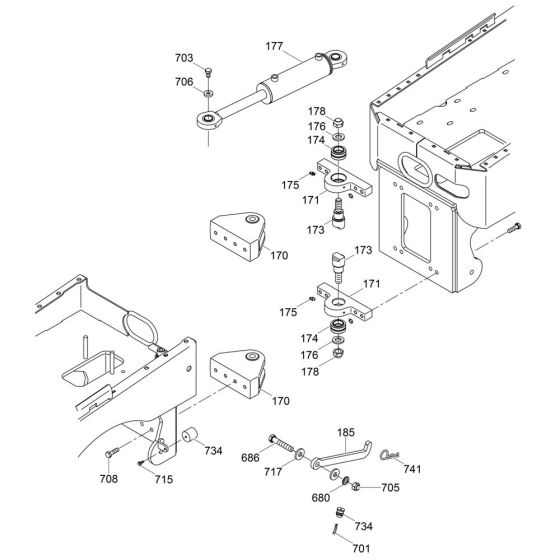
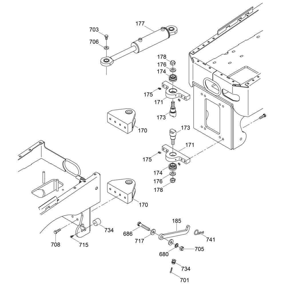
The Steering Joint Assembly for the Wacker RT82-SC2 Trench Roller is crucial for maintaining precise control and manoeuvrability. This assembly includes components such as joints, bearings, and seals, ensuring smooth operation and reducing wear. Designed for the Wacker Neuson model, it helps maintain the roller's performance and longevity, making it ideal for construction and maintenance tasks.
Reviews
Add a review
Write Your Own Review
Ask a Question
Customer Questions

