Description
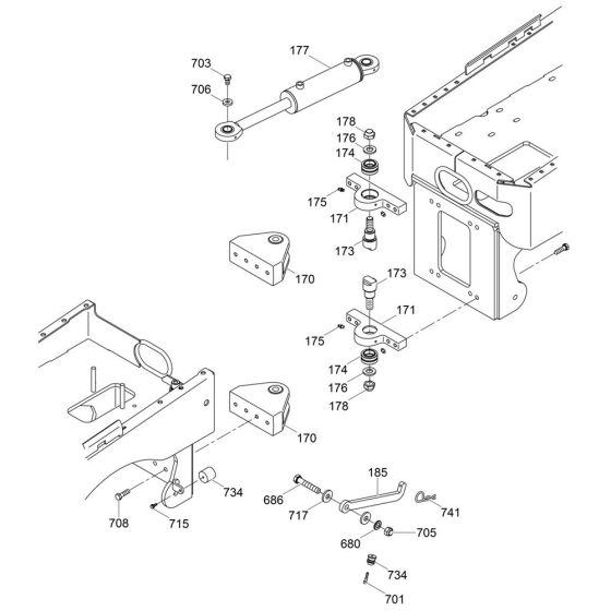
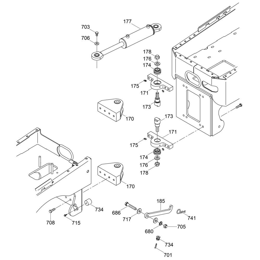
The Steering Joint Assembly for the Wacker RTK82-SC3 Trench Roller is crucial for precise manoeuvrability and control. This assembly includes components such as joints, bearings, and seals, ensuring smooth steering and reliable operation. Designed for durability, it helps maintain the efficiency and safety of the trench roller during construction tasks.
Reviews
Add a review
Write Your Own Review
Ask a Question
Customer Questions

