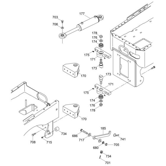
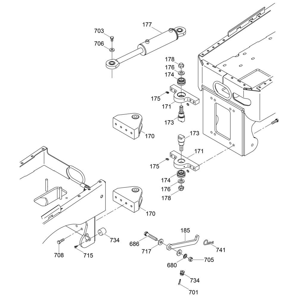
Description
The Steering Joint Assembly for the Wacker RTx-SC2 Trench Roller is crucial for maintaining precise control and manoeuvrability. This assembly includes components such as joints, bearings, and seals, ensuring smooth operation and durability. Designed for the Wacker Neuson model, it supports effective trenching by providing reliable steering performance.
Reviews
Add a review
Write Your Own Review
Ask a Question
Customer Questions

