Description
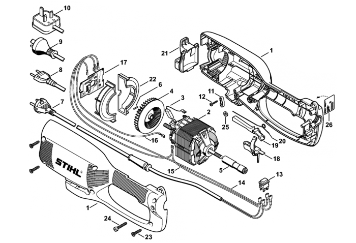
The Stihl FE55 Electric Motor Housing Assembly is designed for use with Stihl FE55 Electric Trimmers. This assembly includes key components that ensure the motor is securely housed and protected. Essential for maintaining the trimmer's performance, it helps safeguard the motor from external damage. Available in genuine and non-genuine parts, it supports the longevity and efficiency of your equipment.
Reviews
Add a review
Write Your Own Review
Ask a Question
Customer Questions

