Description
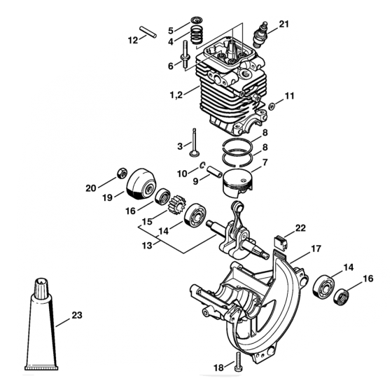
The Stihl FS100 FS110 Cylinder Engine Pan Assembly is designed for maintaining the performance of your brushcutter. Suitable for models FS100, FS100r, FS100rx, FS110, FS110r, FS110x, and FS110rx, this assembly includes essential components for engine protection and efficiency. It helps ensure optimal operation by housing the cylinder and related parts, reducing wear and tear during use.
Reviews
Add a review
Write Your Own Review
Ask a Question
Customer Questions

