Description
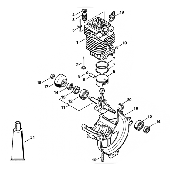
The Stihl FS130 FS130r Cylinder Engine Pan Assembly is designed for maintaining the performance of your brushcutter. It includes essential components such as gaskets, seals, and fasteners, ensuring optimal engine function. Suitable for both genuine and non-genuine parts, this assembly helps in routine maintenance and repair tasks, enhancing the longevity of your equipment.
Reviews
Add a review
Write Your Own Review
Ask a Question
Customer Questions

