Description
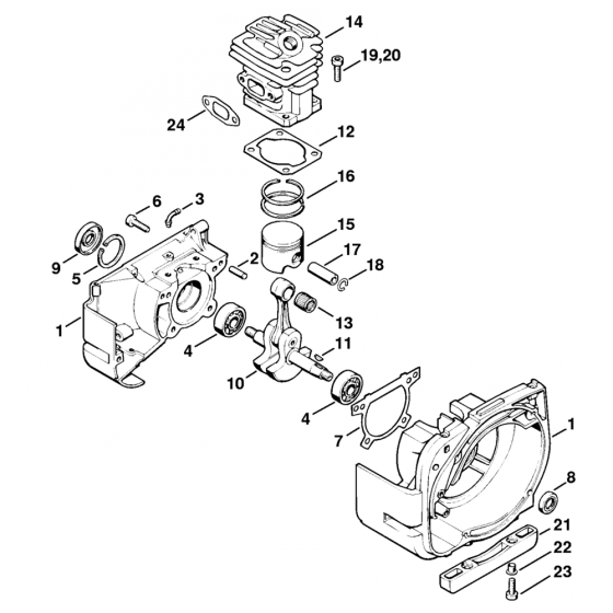
The crankcase cylinder assembly for Stihl FS220, FS280, and FS290 brushcutters includes essential components for engine performance and longevity. Designed to house the crankshaft and piston, it ensures optimal engine function. Available in genuine and non-genuine parts, this assembly is crucial for maintaining the reliability and efficiency of your brushcutter.
Reviews
Add a review
Write Your Own Review
Ask a Question
Customer Questions

