Description
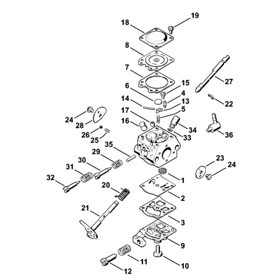
The Stihl FS36 FS40 FS44 Carburetor WT 160 Assembly is designed for optimal performance in brushcutters. It ensures efficient fuel mixing and delivery, maintaining engine reliability. This assembly includes components such as gaskets, diaphragms, and adjustment screws. Suitable for routine maintenance and repair, it supports consistent operation across various conditions.
Reviews
Add a review
Write Your Own Review
Ask a Question
Customer Questions

