Description
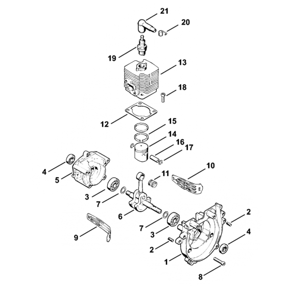
The Stihl FS62 FS66 Crankcase Cylinder Assembly is essential for maintaining the performance of your brushcutter. This assembly includes components like the crankcase and cylinder, crucial for engine operation and durability. Suitable for both genuine and non-genuine parts, it ensures compatibility with Stihl FS62 and FS66 models, supporting efficient engine function and longevity.
Reviews
Add a review
Write Your Own Review
Ask a Question
Customer Questions

