Description
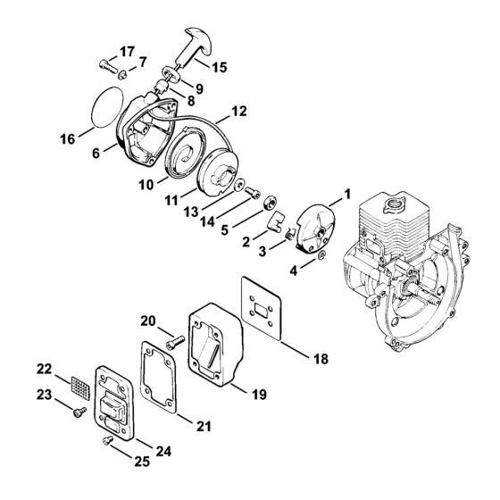
The Stihl FS62 FS66 Rewind Starter Muffler Assembly is designed for use with Stihl FS62 and FS66 brushcutters. This assembly includes components essential for starting and muffling, ensuring efficient operation and noise reduction. Available in both genuine and non-genuine parts, it supports maintenance and repair needs.
Reviews
Add a review
Write Your Own Review
Ask a Question
Customer Questions

