Description
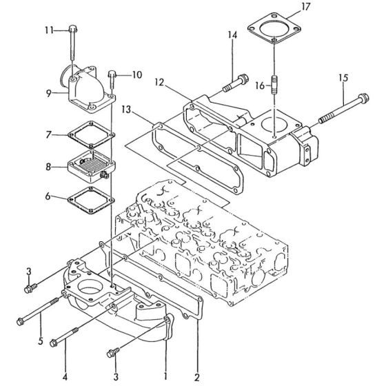
The Suction and Exhaust Manifold Assembly for the Yanmar 3TN100E-SMD Engine is crucial for optimal engine performance. This assembly ensures efficient air intake and exhaust flow, enhancing engine efficiency and longevity. Components include gaskets, flanges, and pipes, designed to fit seamlessly with the Yanmar 3TN100E-SMD model.
Reviews
Add a review
Write Your Own Review
Ask a Question
Customer Questions

