Description
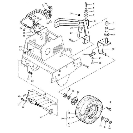
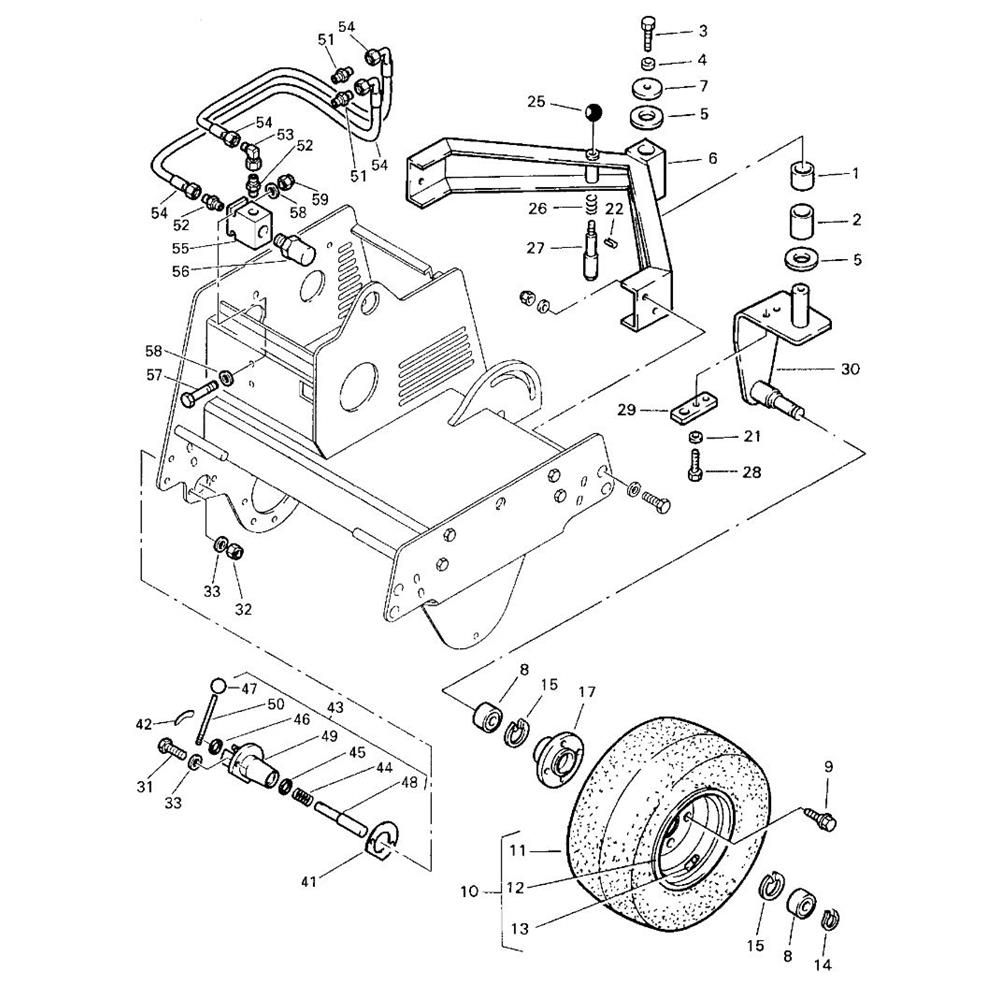
The Supporting Wheel Assembly for the Bomag BW 71 E Roller ensures optimal performance and stability during operation. This assembly includes key components such as bearings, axles, and mounting brackets, designed to support the roller's weight and facilitate smooth movement. Suitable for models 101620201001 to 101620201120, it is essential for maintaining the roller's efficiency and longevity.
Reviews
Add a review
Write Your Own Review
Ask a Question
Customer Questions

