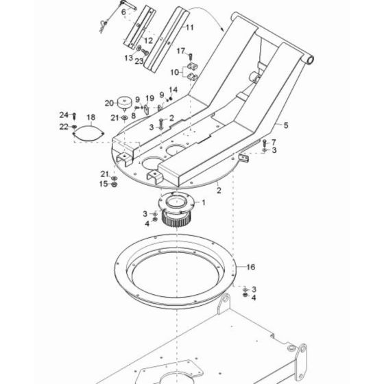
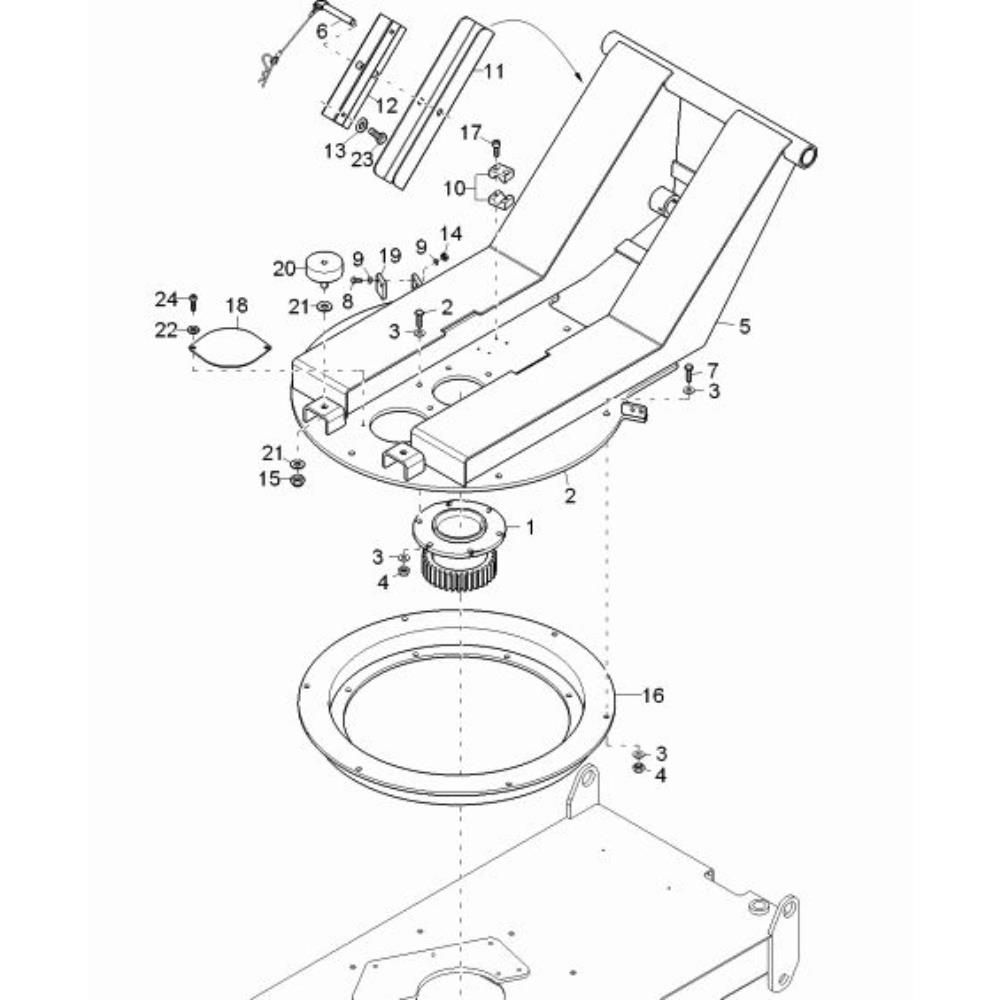
Description
The Swivel Bracket Assembly for the Wacker DT15 Track Dumper is a crucial component designed to ensure smooth operation and manoeuvrability. This genuine Wacker Neuson part is essential for maintaining the dumper's performance and reliability. The assembly typically includes brackets, pins, and fasteners, all engineered to withstand the rigours of heavy-duty use.
Reviews
Add a review
Write Your Own Review
Ask a Question
Customer Questions

