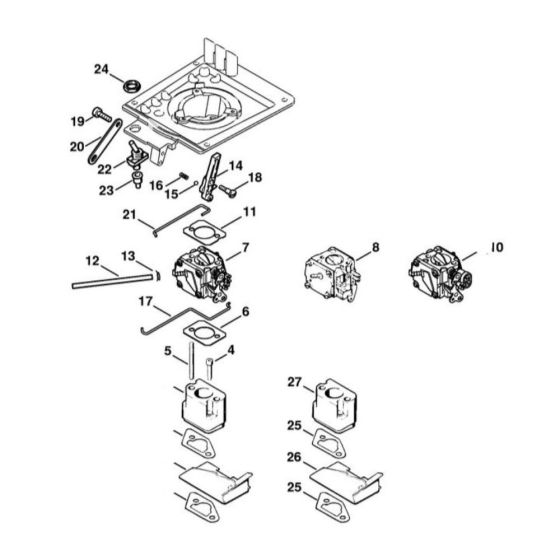
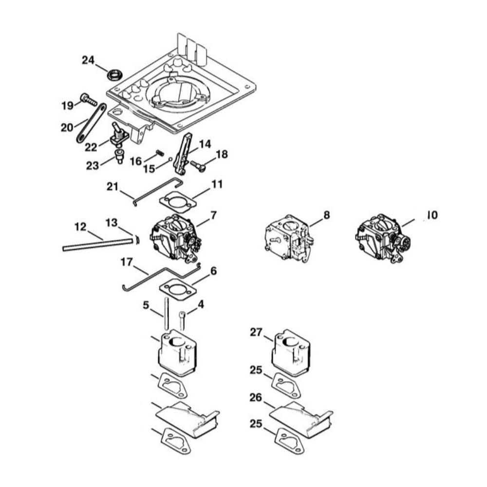
Description
The Throttle Cable Assembly for Stihl TS760 Disc Cutters ensures precise control and reliable operation. This genuine Stihl part is essential for maintaining the performance of your disc cutter. It includes components like cables and connectors, designed to withstand the demands of heavy-duty cutting tasks. Regular replacement helps prevent wear and ensures smooth throttle response.
Reviews
Add a review
Write Your Own Review
Ask a Question
Customer Questions

