Description
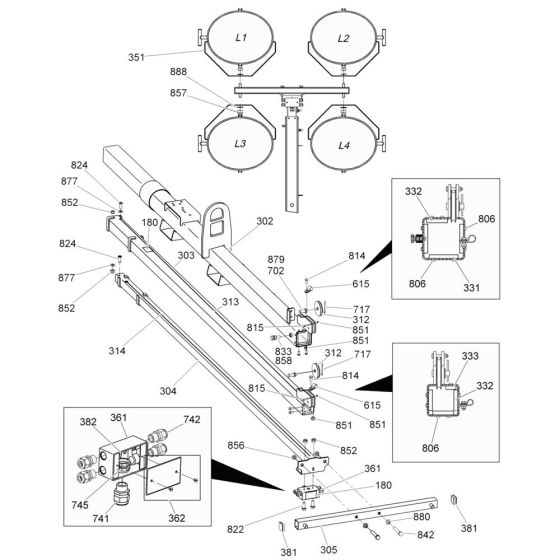
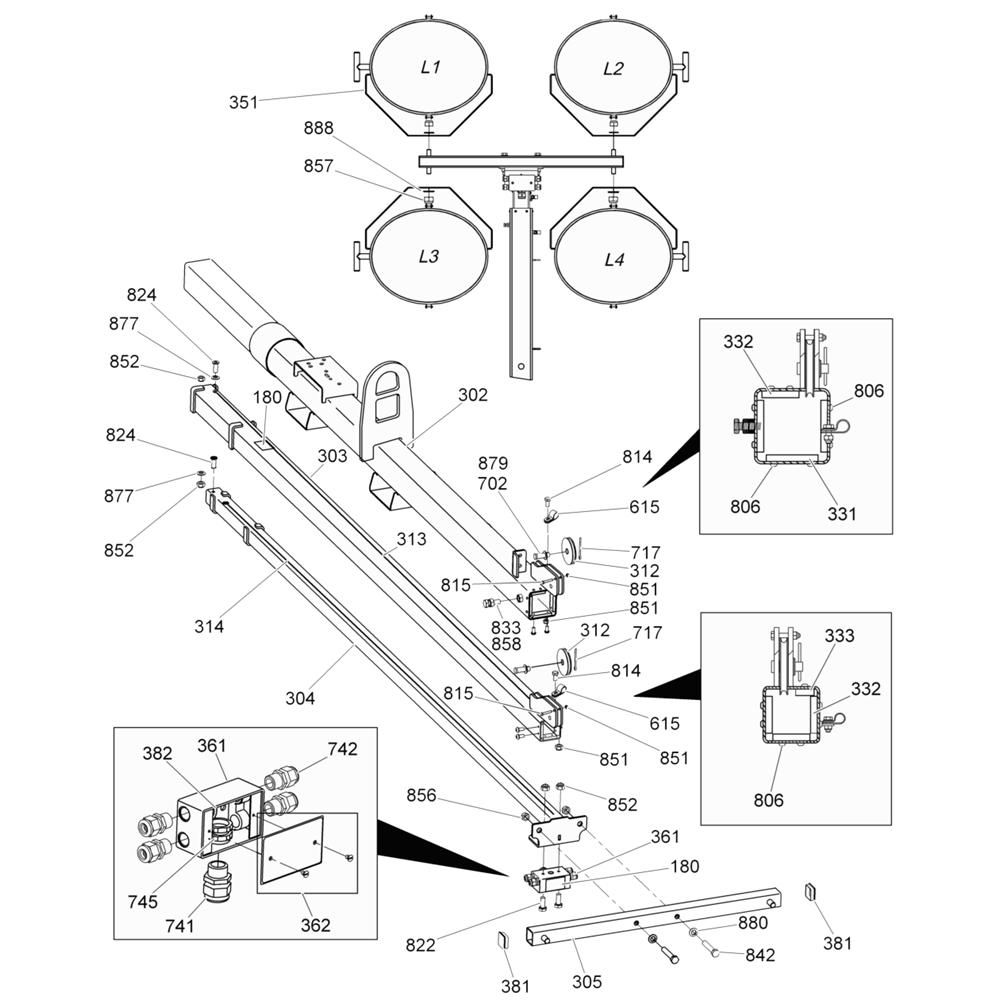
The Tower Assembly for the Wacker LTW20Z1 Lighting Tower includes key components to ensure optimal functionality and safety. Designed for efficient illumination, it supports the tower's structure and stability. Typical parts include brackets, fasteners, and stabilisers, essential for maintaining the tower's performance in various conditions.
Reviews
Add a review
Write Your Own Review
Ask a Question
Customer Questions

