Description
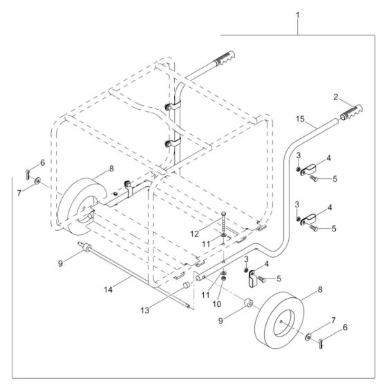
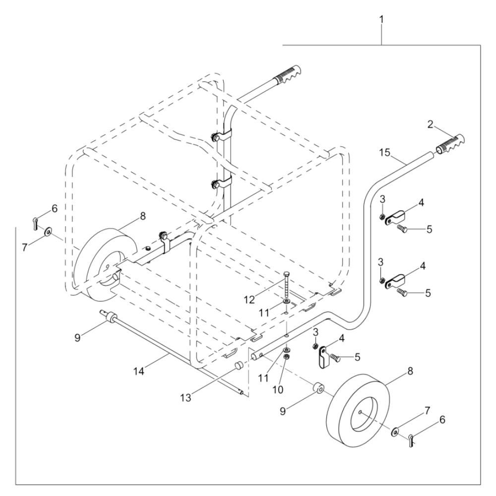
The Transport Assembly for the Wacker PT3Y Pump includes essential components to facilitate the movement and stability of the pump during operation. Designed to ensure efficient transport and positioning, this assembly helps maintain the pump's functionality and longevity. Components may include wheels, handles, and brackets, all tailored for the Wacker Neuson model.
Reviews
Add a review
Write Your Own Review
Ask a Question
Customer Questions

