Description
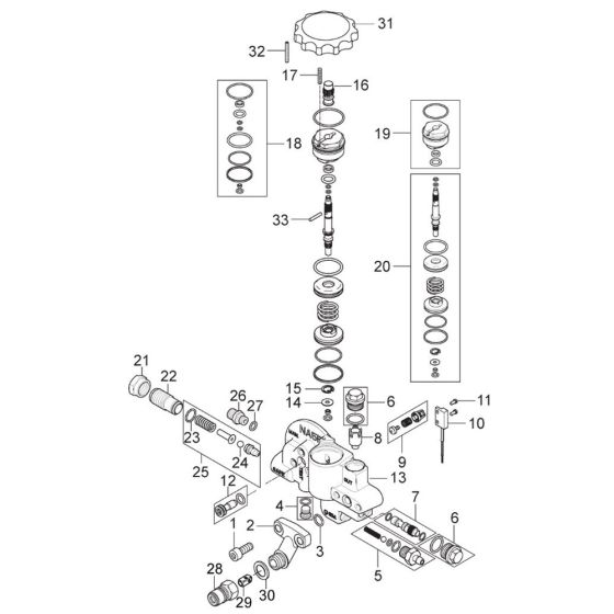
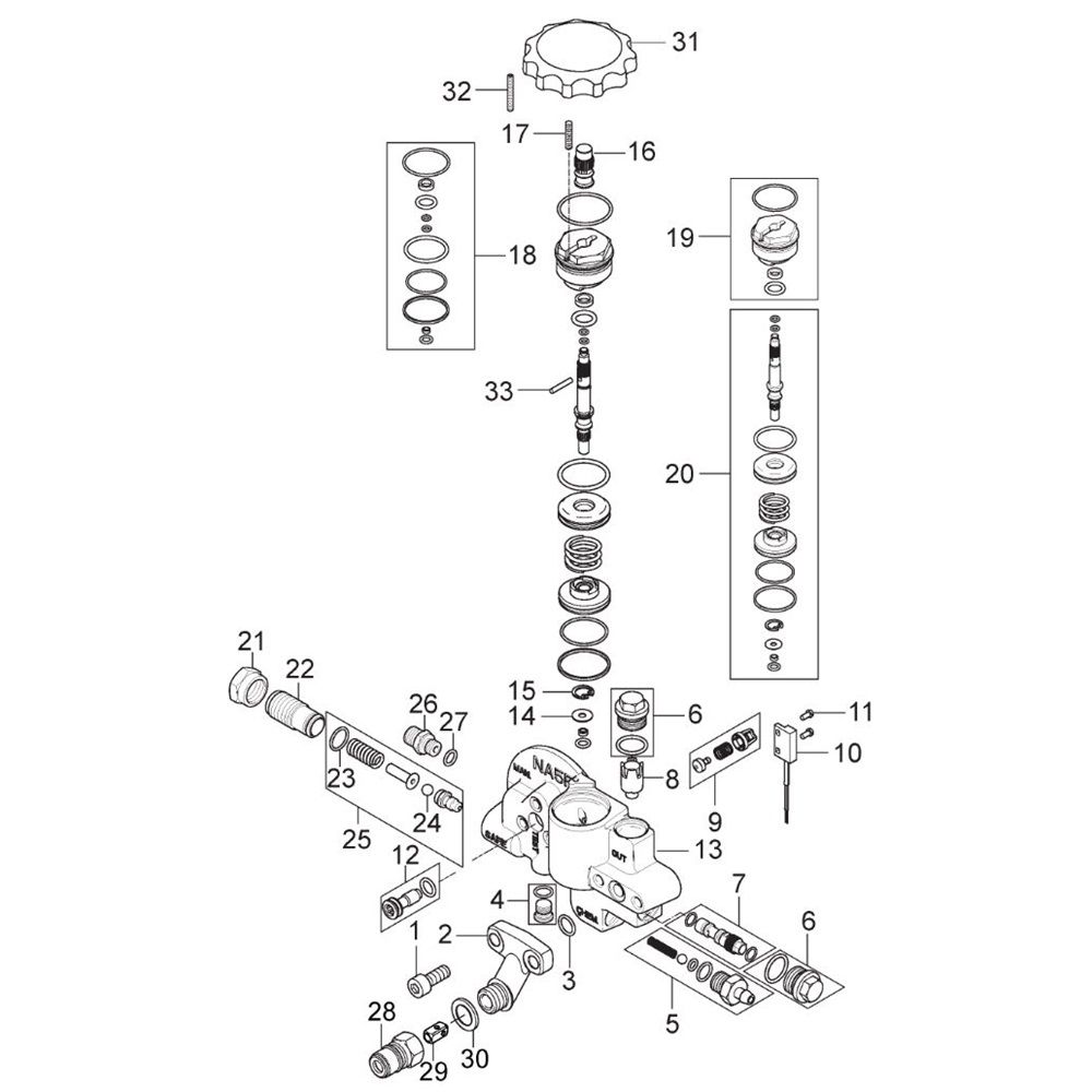
The Unloader FA for the Nilfisk MC 5M-220/1130 FA Pressure Washer is a crucial component designed to regulate pressure and ensure optimal performance. This genuine Nilfisk part helps maintain the efficiency and longevity of the pressure washer by managing water flow and pressure levels. Suitable for routine maintenance and repairs, it is essential for reliable operation.
Reviews
Add a review
Write Your Own Review
Ask a Question
Customer Questions

