Description
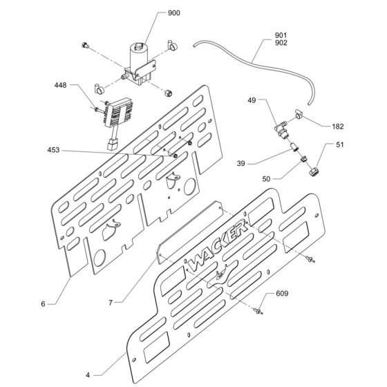
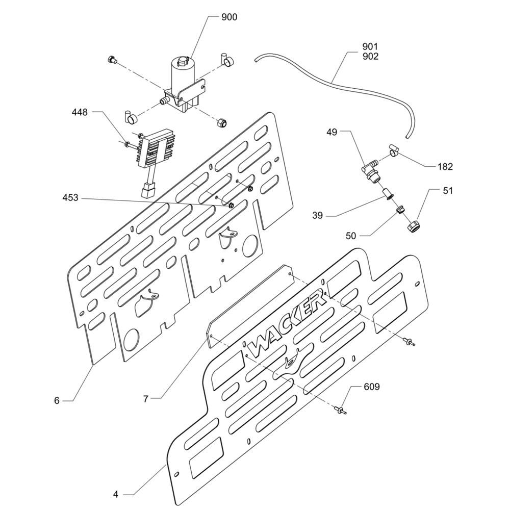
The Water System Assembly for the Wacker CRT 36-24 A-E Trowel is designed to ensure optimal performance during concrete finishing. This assembly includes components such as hoses, valves, and connectors, which work together to provide efficient water distribution. Essential for maintaining the trowel's functionality, these parts help in achieving a smooth, professional finish on concrete surfaces.
Reviews
Add a review
Write Your Own Review
Ask a Question
Customer Questions

