Description
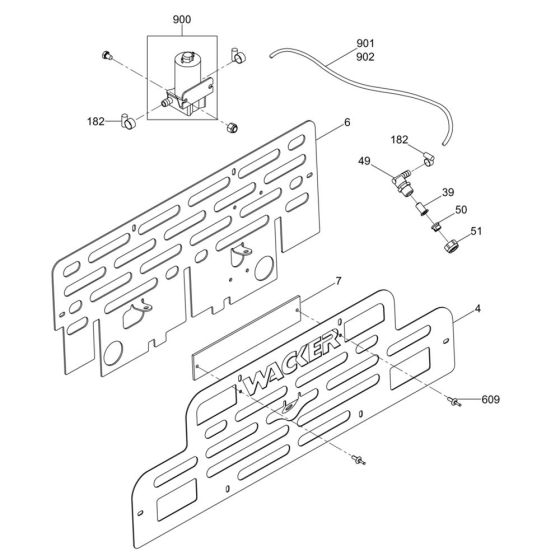
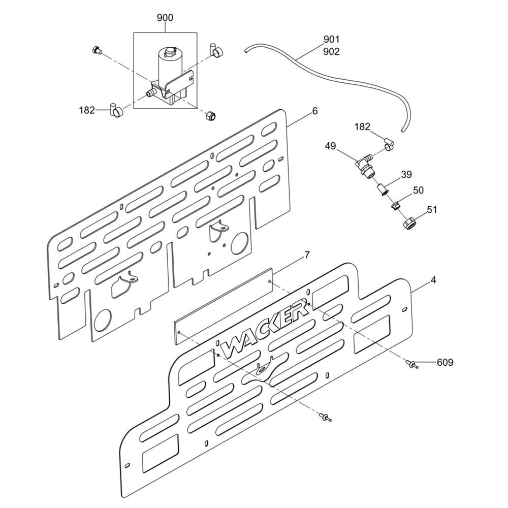
The Water System Assembly for the Wacker CRT 36-25K Trowel includes essential components to ensure optimal performance and longevity of the ride-on trowel. This assembly helps in maintaining the correct water flow, crucial for concrete finishing tasks. Components may include hoses, connectors, and valves, all designed to fit seamlessly with the Wacker Neuson model.
Reviews
Add a review
Write Your Own Review
Ask a Question
Customer Questions

