Description
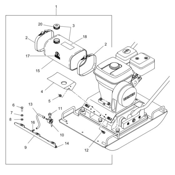
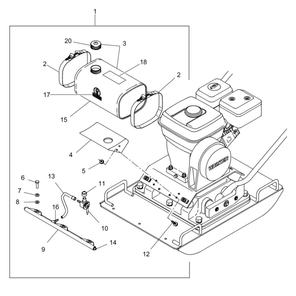
The Water System Assembly for the Wacker VPG165V Compactor includes essential components to ensure optimal performance and longevity. Designed to facilitate efficient water distribution, it helps in dust suppression during compaction tasks. Key parts include hoses, nozzles, and connectors, all contributing to effective operation. Genuine Wacker Neuson parts ensure compatibility and reliability.
Reviews
Add a review
Write Your Own Review
Ask a Question
Customer Questions

