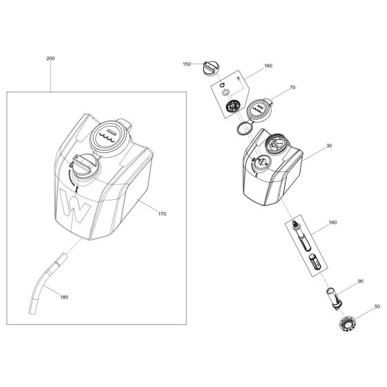
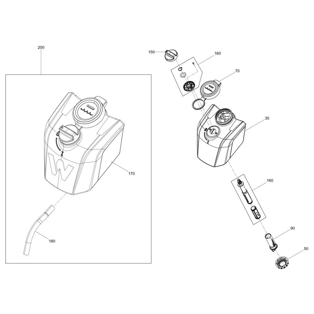
Description
The Water Tank Assembly for the Wacker BPS1340Bw Plate Compactor is designed to enhance the machine's efficiency by providing a consistent water supply during operation. This assembly helps in dust suppression and compaction performance. It includes components such as hoses, fittings, and mounting brackets, ensuring compatibility with the Wacker Neuson Forward Plate Compactor.
Reviews
Add a review
Write Your Own Review
Ask a Question
Customer Questions

