Description
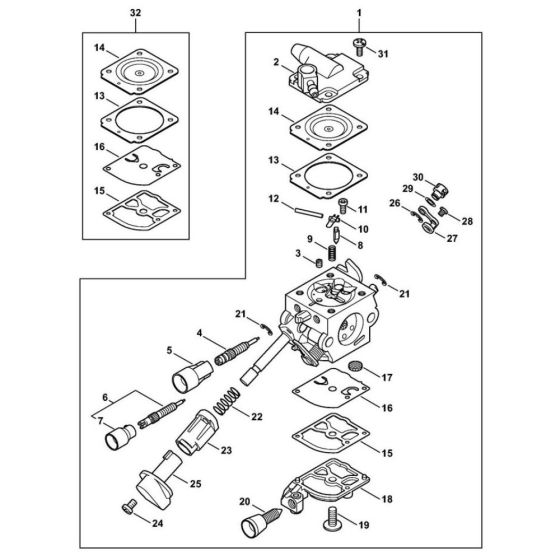
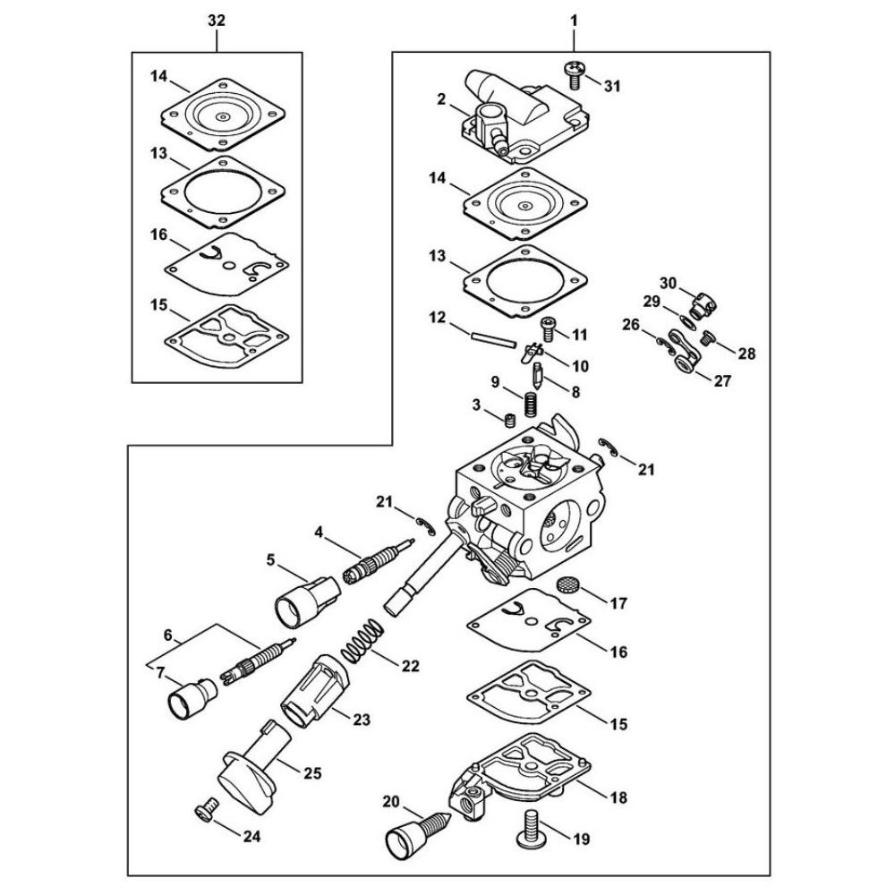
The Carburetor C1Q-S209 is designed for the Stihl BR 450 and BR 450 C leaf blowers, ensuring optimal fuel and air mixture for efficient engine performance. This component is crucial for maintaining the blower's power and reliability. Available in genuine and non-genuine options, it includes parts like gaskets and diaphragms to support various maintenance needs.
Reviews
Add a review
Write Your Own Review
Ask a Question
Customer Questions

