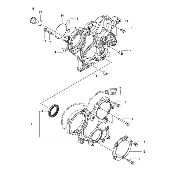
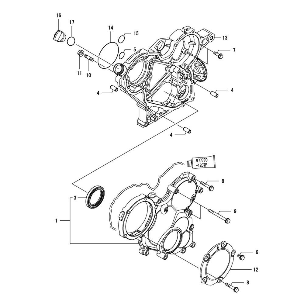
Description
The Gear Housing Assembly for the Yanmar 2TNV66-DMC Engine is essential for maintaining the engine's performance and longevity. This assembly includes critical components such as gears, seals, and covers that ensure smooth operation and protection of internal parts. Designed for precise fit and function, it supports the engine's mechanical systems effectively.
Reviews
Add a review
Write Your Own Review
Ask a Question
Customer Questions

