Description
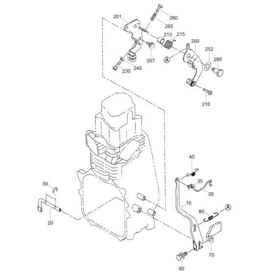
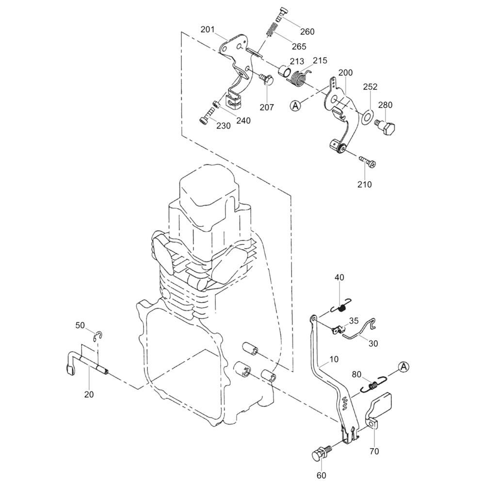
The Governor Assembly for the Wacker WM 90 Engine is crucial for regulating engine speed and maintaining optimal performance. This assembly includes components such as springs, levers, and rods, ensuring precise control and stability. Designed for the Wacker Neuson engine, it helps in reducing wear and enhancing the longevity of the engine.
Reviews
Add a review
Write Your Own Review
Ask a Question
Customer Questions

