
Honda GX35 (GCACM) Engine Parts
Spares for Honda GX35 (GCACM) Engines.
Parts diagrams and manuals for GX35 here »

Spares for Honda GX35 (GCACM) Engines.
Parts diagrams and manuals for GX35 here »

Shop by diagram

Cam Pulley Assembly Honda GX35

Recoil Starter for Honda GX35

Fan Cover & Clutch Assembly

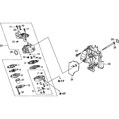
Carburetor Assembly for GX35

Air Filter for Honda GX35

Muffler Assembly for Honda GX35

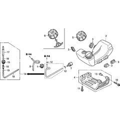
Fuel Tank Assembly for GX35

Flywheel Assembly for GX35

Crankcase Set for Honda GX35

Top Cover for Honda GX35

Label for Honda GX35 Engines

Tools for Honda GX35 Engines

Crankshaft & Piston Assembly
All products
-
Air Filter Base to fit Honda GX35 Engine - 17220 Z0Z 010£15.70 £13.08