Description
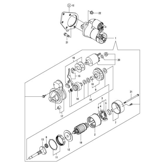
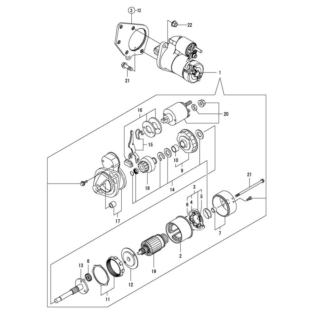
The Starting Motor Assembly for the Yanmar 2TNV66-DMC Engine is essential for initiating engine operation. This assembly includes key components such as the starter motor, solenoid, and mounting hardware, ensuring reliable engine starts. Designed for compatibility with the Yanmar 2TNV66-DMC, it helps maintain optimal engine performance and longevity.
Reviews
Add a review
Write Your Own Review
Ask a Question
Customer Questions

