
Stihl TS410 TS420 Disc Cutter Parts
Genuine and aftermarket spare parts and accessories for Stihl's popular TS410 12" & TS420 14" disc cutters. Huge selection in stock available for next day delivery. Buy from an approved Stihl dealer.
Genuine and aftermarket spare parts and accessories for Stihl's popular TS410 12" & TS420 14" disc cutters. Huge selection in stock available for next day delivery. Buy from an approved Stihl dealer.
Shop by diagram
Stihl TS410 Tools & Extras
Water Kit for Stihl TS410
Crankcase Assembly for Stihl TS410
Cylinder & Piston Assembly
Clutch Assembly for Stihl TS410
Handlebar Assembly for Stihl TS410
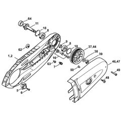
Recoil Starter for Stihl TS410
Fuel Tank Assembly for Stihl TS410
Ignition System for Stihl TS410
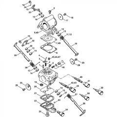
Zama Carb Assembly for Stihl TS410
Shroud & Air Filter for Stihl
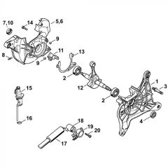
Cast Arm & Blade Pulley Assembly
Blade Guard for Stihl TS410
Stihl Water Tank Assembly
Stihl Water Tank Assembly
All products
-
Water Kit fits Stihl TS410 Disc Cutter£29.40 £24.50 -
Square Nut for Stihl TS410 TS420 - 4224 708 8300£1.81 £1.51 -
Connector for Stihl TS410, TS420 - 4238 677 8202£1.68 £1.40