
Husqvarna 250PS Chainsaw Parts
Spares for Husqvarna 250PS Chainsaws
Spares for Husqvarna 250PS Chainsaws
Shop by diagram

Carburetor & Air Filter Assembly

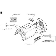
Housing Assembly for Husqvarna 250ps

Cylinder Piston Assembly

Crankshaft Assembly for Husqvarna

Muffler Assembly for Husqvarna

Fuel Tank Assembly for Husqvarna

Hydraulic Pump Motor Assembly

Hydraulic Pump Motor Assembly

Crankcase Assembly for Husqvarna

Ignition System for Husqvarna 250ps

Cutting Equipment for Husqvarna 250ps

Throttle Controls for Husqvarna 250ps

Harness Assembly for Husqvarna

Carburetor Assembly Husqvarna 250ps

Husqvarna 250ps Chainsaw Accessories

Accessories for Husqvarna 250ps

Housing Assembly for Husqvarna

Hydraulic Pump Motor Assembly

Throttle Controls for Husqvarna 250ps

Accessories for Husqvarna 250ps
All products
-
Screen - Genuine Husqvarna Part - 501 66 61-01£4.64 £3.87
-
Air Filter - Genuine Husqvarna Part - 502 22 59-01£10.28 £8.57