
Stihl FC 44 Lawn Edger Parts
Spares for Stihl FC 44 Lawn Edger. Genuine and Non-Genuine Parts Available.
Spares for Stihl FC 44 Lawn Edger. Genuine and Non-Genuine Parts Available.
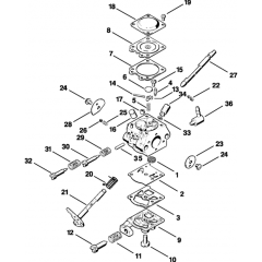
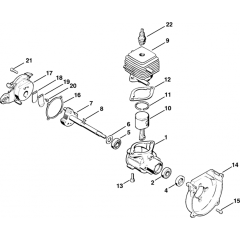
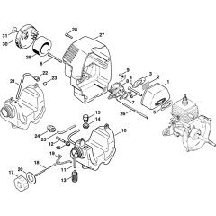
Shop by diagram
All products
-
Genuine NGK BMR6A Spark Plug - 7421£3.90 £3.25 -
Grommet for Stihl HT250, KR85 - 0000 989 0516£1.70 £1.42 -
Washer 6.4 for Stihl FS55, FS55C - 9291 021 0140£0.41 £0.34 -
Rope for Stihl SH55, SH85 - 0000 350 0900£1.46 £1.22 -
Grommet for Stihl TS460, BG45 - 4223 353 9201£1.70 £1.42 -
Sealing Ring for Stihl 018, FS36 - 0000 359 1240£1.68 £1.40 -
Strainer for Stihl FS150, FS151 - 1114 121 7800£3.30 £2.75 -
Hook for Stihl 028, BG60 - 0000 353 0600£1.32 £1.10 -
Cap for Stihl SP80, SP80K - 0000 195 7000£1.68 £1.40 -
Lock Nut M6 for Stihl BT309, 070 - 9214 320 0900£0.53 £0.44 -
Metering Diaphragm for Stihl 010, 011 - 1113 121 4705£14.96 £12.47