
Stihl MS720 Chainsaw Parts
Genuine Spare Parts for Stihl MS720 Chainsaw Available. Complete Part Diagram Breakdowns Provided. Buy Online from a Leading UK Supplier of Stihl Spare Parts.
Genuine Spare Parts for Stihl MS720 Chainsaw Available. Complete Part Diagram Breakdowns Provided. Buy Online from a Leading UK Supplier of Stihl Spare Parts.
Shop by diagram
Crankcase Assembly for Stihl MS720
Cylinder Assembly for MS720
Rewind Starter for Stihl MS720
Ignition System for Stihl MS720
Clutch & Sprocket Cover MS720
Oil Pump Assembly for MS720
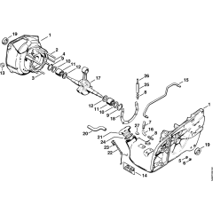
Speed Governor & Carburetor
Shroud & Air Filter for MS720
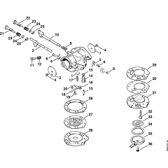
Carburetor LB-S9 for Stihl MS720
Handle & Handlebar Assembly
Handle & Scabbard for Stihl MS720
Tools & Extras for Stihl MS720
All products
-
E-Clip 3.2 for Stihl 041G, 056 - 9460 624 0320£0.48 £0.40 -
Pin for Stihl 012, 070 Chainsaw - 1113 182 8901£1.68 £1.40 -
Tank Vent for Stihl TS08S, TS08 - 1108 350 5800£7.70 £6.42 -
Lock Nut M6 for Stihl BT309, 070 - 9214 320 0900£0.53 £0.44 -
Stop Switch for Stihl TS350 - 1110 430 0202£8.26 £6.88