
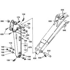
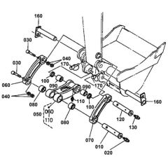
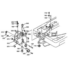
Kubota KX36-2 Mini Excavator Parts
Wide range of Genuine and Non-Genuine spares for Kubota KX36-2 Mini Diggers, including pins, bushes and more available for next day delivery. We have parts diagrams available for Kubota's KX36-2 Mini Excavator to help identify parts.
Wide range of Genuine and Non-Genuine spares for Kubota KX36-2 Mini Diggers, including pins, bushes and more available for next day delivery. We have parts diagrams available for Kubota's KX36-2 Mini Excavator to help identify parts.
Shop by diagram
All products
-
Inner Air Filter fits Kubota KX36-2 - 6C040-94250£16.00 £13.33 -
Semi Quick Hitch fits Kubota KX36, KX36-2, KX41 Mini Excavator£271.49 £226.24 -
Bush for Kubota KX36-2 Excavators - OEM No. 69421 66630£41.59 £34.66