
Stihl 029 / 039 Chainsaw Parts
Genuine and aftermarket spare parts and accessories for Stihl's popular 029 and 039 Chain Saws.
Huge selection of parts in stock available for next day delivery. Buy from an approved Stihl dealer.
Genuine and aftermarket spare parts and accessories for Stihl's popular 029 and 039 Chain Saws.
Huge selection of parts in stock available for next day delivery. Buy from an approved Stihl dealer.
Shop by diagram

Stihl 029 Chainsaw Tools

Cylinder 029 Assembly

Cylinder Assembly for Stihl

Motor Housing for Stihl 029 039

Oil Pump & Clutch Assembly

Chain Brake Assembly for Stihl

Ignition System for Stihl 029 039

Fan Housing for Stihl Chainsaws

Handle Housing for Stihl Chainsaws

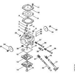
Carburetor HD-19 Assembly

Carburetor for Stihl Chainsaws

Carburetor HD-5 for Stihl Chainsaws
All products
-
Bumper Strip for Stihl 084, 044 - 1121 648 6610£2.05 £1.71
-
Piston Circlip for Stihl TS400 - 9463 650 1000£0.79 £0.66
-
E-Clip 4 for Stihl MS181, MS170 - 9460 624 0400£0.48 £0.40
-
Sealing Ring for Stihl 028, 038 - 0000 359 1220£1.68 £1.40