
Stihl 028 / 028AV Chainsaw Parts
Genuine and aftermarket spare parts and accessories for Stihl's popular 028 Woodboss & 028 Super Chain Saws.
Huge selection of parts in stock available for next day delivery. Buy from an approved Stihl dealer.
Genuine and aftermarket spare parts and accessories for Stihl's popular 028 Woodboss & 028 Super Chain Saws.
Huge selection of parts in stock available for next day delivery. Buy from an approved Stihl dealer.
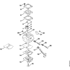
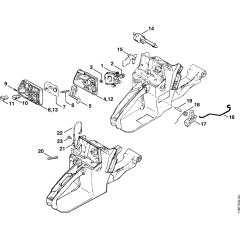
Shop by diagram
All products
-
Bumper Strip for Stihl 084, 044 - 1121 648 6610£2.05 £1.71 -
Piston Circlip for Stihl TS400 - 9463 650 1000£0.79 £0.66 -
E-Clip 4 for Stihl MS181, MS170 - 9460 624 0400£0.48 £0.40