
Yanmar 3TNV88-XTBZ Engine Parts (Takeuchi TB138FR)
Yanmar 3TNV88-XTBZ Engine Parts Fits Takeuchi TB138FR Excavators. Genuine and Non Genuine Parts Available.
Yanmar 3TNV88-XTBZ Engine Parts Fits Takeuchi TB138FR Excavators. Genuine and Non Genuine Parts Available.
Shop by diagram

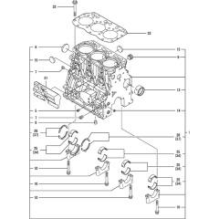
Cylinder Block Assembly

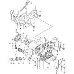
Gear Housing Assembly

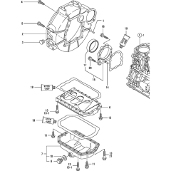
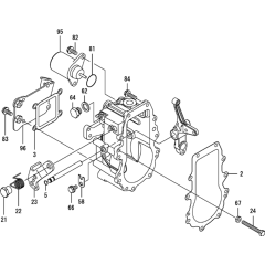
Flywheel Housing & Oil Sump

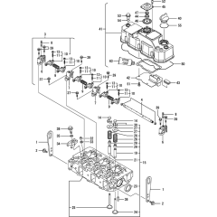
Cylinder Head & Bonnet Assembly

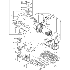
Suction Manifold & Air Cleaner

Exhaust Manifold & Silencer

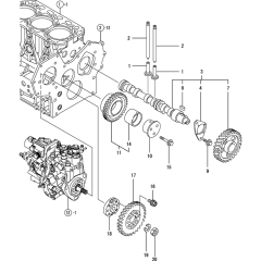
Camshaft & Gear Assembly

Crankshaft & Piston Assembly

Oil System Assembly for Yanmar

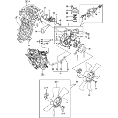
Cooling Water System Assembly

Radiator Assembly for Yanmar

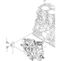
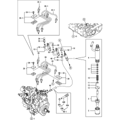
Fuel Injection Pump Assembly

Fuel Injection Valve Assembly

Fuel Line Assembly for Yanmar

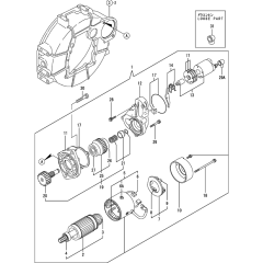
Starting Motor Assembly

Generator Assembly for Yanmar

Tool and Gasket Set for Yanmar

Fuel Injection and Pump Assembly

Governor Assembly for Yanmar
All products
-
Lock Nut M6 - Genuine Yanmar Part - 26756 060002£2.27 £1.89
-
Solenoid Stop for Yanmar 3TNV88-XTBZ Engine - 119233-77932£203.04 £169.20
-
Gasket (NON-ASB) for Yanmar 3TNE88 Engine - 129001-01340£114.36 £95.30